This week Seth and Jared recap their favorite events from 2022 and give some predictions for what SpaceX, NASA, and other companies will do in 2023.
Back in March, some guy took to Twitter to make the bold prediction that SpaceX would launch 60 rockets this year. And surprise (to probably none of you) that guy was Elon Musk – fast forward to this morning, SpaceX just completed its 60th flight for 2022.
Expand Expanding Close
Earlier this week, Arianespace suffered another failure with its Vega rocket, this time with the upgraded Vega-C variant. The launch took place from the Guiana Space Centre in South America and was supposed to carry two French satellites into orbit.
Expand Expanding Close
On December 21, NASA reported that the Mars lander InSight (Interior Exploration using Seismic Investigations, Geodesy and Heat Transport) missed replying to its second call from the Mars Reconnaissance Orbiter, likely as a result of the power waning. This led to NASA officially concluding its four-year mission on Mars. There are several elements that led to the lander’s loss of power, leading many to question how the vehicle could have been saved. Followers of the mission have common questions about how the vehicle could’ve been saved. They also ask about the fate of Mars’ other remaining operational vehicles.
Expand Expanding Close
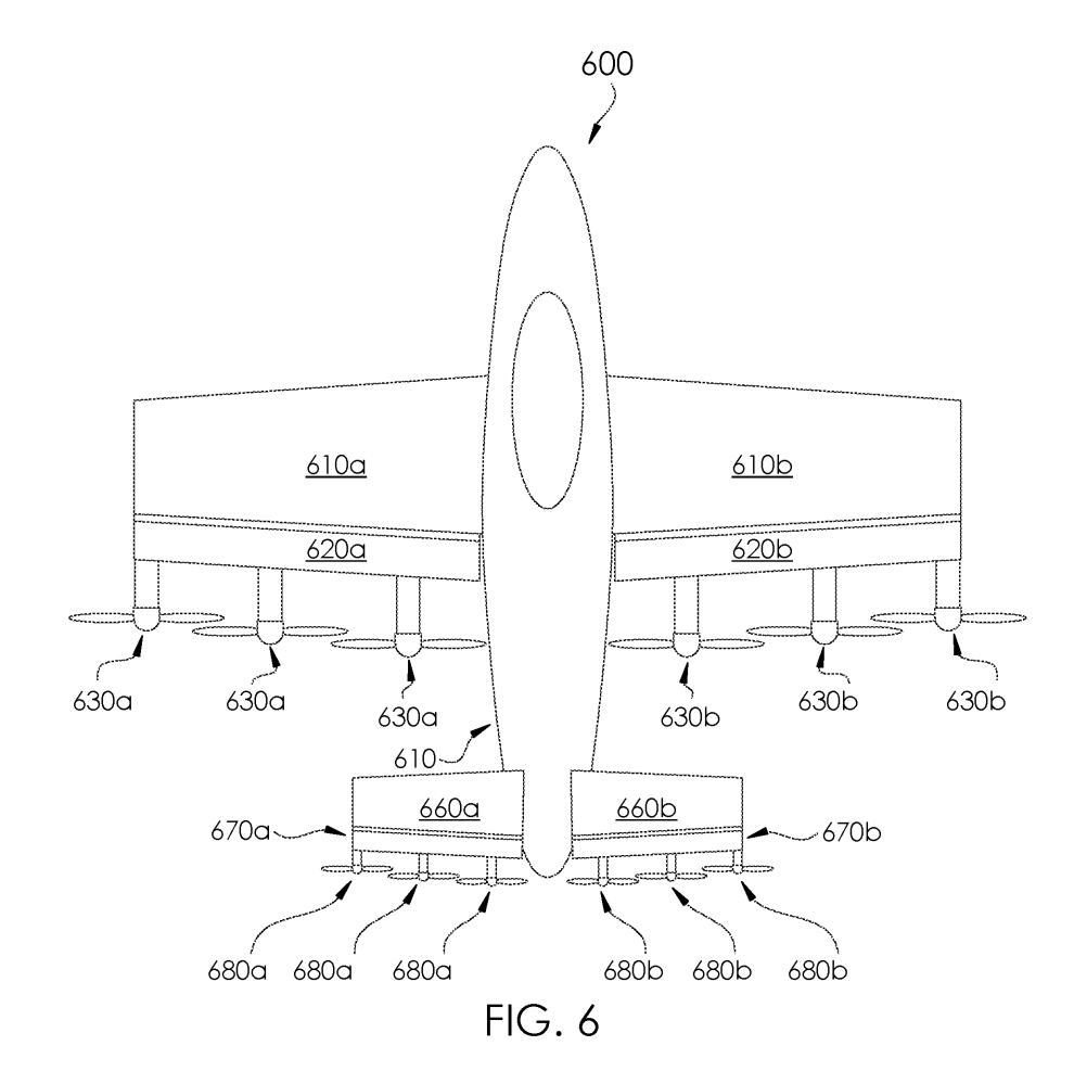
Virginia-based long-endurance tilt-wing drone specialist Advanced Aircraft Company (AAC) has been tapped by NASA to develop a UAV it has designed that pivots the propellers to shift from vertical liftoff to horizontal flight thrust in a more effective manner than existing methods used on most air taxis being developed.
Read More
Earlier this month, NASA moved the SLS engine section for Artemis 3 into the Space Station Processing Facility (SSPF) at the Kennedy Space Center in Florida. This comes as a distinct change from previous SLS core stages like the recently flown Artemis 1 and Artemis 2, which are still being assembled at NASA’s Michoud Assembly Facility in Louisiana. The biggest questions arising from this change are what NASA’s plan for Artemis 3 is and onwards and what stirred this sudden change.
Expand Expanding Close
Over the weekend, we finally got word of who will fly on the mysterious dearMoon mission paid for by Japanese billionaire Yusaku Maezawa. The crew is filled with artists from all mediums and even a media member. Check out who will be flying on dearMoon below.
Expand Expanding Close
It’s crazy to think it’s already been 25 days since NASA’s launched its largest and most powerful rocket to the Moon. After a decade of work, everything came together to bring us to this day, with a completed and validated deep space launch system for NASA after a successful Artemis 1 splashdown.
Expand Expanding Close
Wednesday will be an exciting night for astronomers around the world as four celestial events coincide to give 2022 the proper send-off.
Expand Expanding Close
Back in March, NASA announced it would seek to award a contract to purchase a second lunar lander for the Artemis Program. We’re seeing many similar faces return with bids for NASA’s money, including Blue Origin with a revised National Team of other notable aerospace contractors.
Expand Expanding Close
ʻOumuamua was the first known interstellar visitor to pass through the Solar System. Since Space Explored first began reporting on ‘Oumuamua, the quarter-mile-long object passed beyond Pluto’s orbit and is now on its way out of the outer Solar System.
Expand Expanding Close
This week Seth and Jared discuss their experience watching the launch of NASA’s Artemis 1 mission and this week’s top headlines. Also, some bold statements on the future of SLS’s launch schedule.
SpaceX’s Starlink high-speed satellite internet service is currently down for thousands of users. The exact cause of the outage is unclear, but users globally are without internet.
Expand Expanding Close
At 2:42 pm ET (1:42 pm CT), SpaceX performed another static fire of their Super Heavy booster. This test was performed using 11 of the 33 Raptor 2 engines. These static fire tests are intended to test the booster and ground support equipment to prove the system’s readiness for a planned orbital flight test and many future missions supporting Starlink and eventually NASA’s Artemis Missions.
Expand Expanding Close
NASA and SpaceX teams successfully sent another Cargo Dragon spacecraft to the ISS on Saturday (November 26). The spacecraft is expected to remain at the Space Station for 45 days.
Expand Expanding Close
For the first time in 13 years, the European Space Agency has chosen a new class of astronauts. This group of 17 was chosen from a group of over 22,500 candidates and brings in five new career astronauts, 11 members of the astronaut reserve, and one astronaut with a disability as a member of the Parastronaut Feasibility Study.
Expand Expanding Close
That’s right! While Artemis 1 is an important mission for the return of humanity to the Moon, everyone back here on Earth has the opportunity to participate by sending messages to an iPad that resides within the Orion spacecraft. A camera will capture the message on the iPad within the capsule and share the recording, so while sending your message beyond the Moon you can spread it to other people here on Earth. And sending your message is really simple. Here’s how.
Expand Expanding Close
NASA’s SLS rocket is the most powerful rocket the agency has every built. It should be no surprise that the two five-segment SRBs and four RS-25 engines left behind a bit of damage at the pad. Yesterday, NASA shared some of the first photos showing the Mobile Launcher, and the damage it sustained, up close.
Expand Expanding Close
While plenty of people on the space coast and around the world stayed up to watch the SLS rocket take flight for the very first time on the historic Artemis 1 launch, that 1:47 a.m. ET liftoff wasn’t ideal for those who wanted to catch some sleep. But we captured the launch of Artemis 1 in slow motion from the press site, so whether you missed liftoff when it happened or just want to relive the moment, you can do so.
Expand Expanding Close
After launching last Wednesday, the Orion spacecraft has reached the Moon, with Snoopy as its zero-G indicator on board. This test flight around the Moon and back will prove the systems of the Orion spacecraft and the SLS rocket, allowing humans to step aboard the rocket the next time it launches ahead of our return to the Moon.
Expand Expanding Close
NASA’s Space Launch System rocket may have taken flight early Wednesday morning, but as with most missions, the rocket launch is only the start of it! The Orion spacecraft is on a journey to the Moon and back, proving all the systems ahead of humans stepping aboard the spacecraft on Artemis II. Here’s how you can follow with this historic mission and track Orion on its journey.
Expand Expanding Close
Artemis 1 is a historic mission, the first flight of the SLS rocket that will return humans to the Moon. For now, the SLS rocket and Orion spacecraft are uncrewed, as this test mission will fly around the Moon and prove the systems that will carry humans in a few years time.
Expand Expanding Close
This week we bring an interview out of the archives with NASA’s Tom Engler on how Kennedy Space Center has changed from the Shuttle program to now. Jared and Seth also discuss the week’s top headlines and correctly predicted Artemis 1’s fate.
NASA’s James Webb Space Telescope has released a spectacular new image of a newly forming star about 460 light-years from Earth. The news came just hours after NASA’s successful SLS launch from Cape Canaveral.
Expand Expanding Close